Schalthebel Spiel

Benutzeravatar
Ijsbrand
JZA80 Boardveteran
JZA80 Boardveteran
Beiträge: 1021
Registriert: 24.11.2016, 06:39
Hat sich bedankt: 0
Danksagung erhalten: 0
Kontaktdaten:

Schalthebel Spiel

Beitrag von Ijsbrand »

Moin Moin zusammen,

ich hab mal das Spiel in meinem Schalthebel aufgenommen.
Man kann ihn ca. 10-15mm nach Links und Rechts drücken, bevor Wiederstand kommt.
Ich nehme mal stark an, dass das nicht normal ist :( ?
Wieß jemand, wo kann der Fehler da liegen kann? Schalthebelfeder hab ich keine gefunden.
Ich versuch noch ein Video anzuhängen:
13072017143.mp4
(4.89 MiB) 1374-mal heruntergeladen
Cheers, Robert
94`J-spec, NA, MT
Benutzeravatar
Japanfanatic
JZA80 allwissendes Orakel
JZA80 allwissendes Orakel
Beiträge: 2687
Registriert: 12.10.2016, 18:49
Hat sich bedankt: 17 Mal
Danksagung erhalten: 52 Mal
Kontaktdaten:

Re: Schalthebel Spiel

Beitrag von Japanfanatic »

Die Buchsen werden ausgenudelt sein, siehe hier: viewtopic.php?f=6&t=546&p=4141&hilit=buchsen#p4141
Ist zwar V160 und nicht W58, aber Schaltung ist Schaltung :-)
Bj. 12/2000 Supra RZ - Japanische Ausführung
1B9 - Quicksilver FX - Silver Metallic Graphite

Public Relations e.V.
Benutzeravatar
Ijsbrand
JZA80 Boardveteran
JZA80 Boardveteran
Beiträge: 1021
Registriert: 24.11.2016, 06:39
Hat sich bedankt: 0
Danksagung erhalten: 0
Kontaktdaten:

Schalthebel Spiel

Beitrag von Ijsbrand »

Japanfanatic hat geschrieben:Die Buchsen werden ausgenudelt sein, siehe hier: viewtopic.php?f=6&t=546&p=4141&hilit=buchsen#p4141
Ist zwar V160 und nicht W58, aber Schaltung ist Schaltung :-)
Ah okay, dann schau ich da mal rein, danke :)
94`J-spec, NA, MT
Benutzeravatar
Ijsbrand
JZA80 Boardveteran
JZA80 Boardveteran
Beiträge: 1021
Registriert: 24.11.2016, 06:39
Hat sich bedankt: 0
Danksagung erhalten: 0
Kontaktdaten:

Schalthebel Spiel

Beitrag von Ijsbrand »

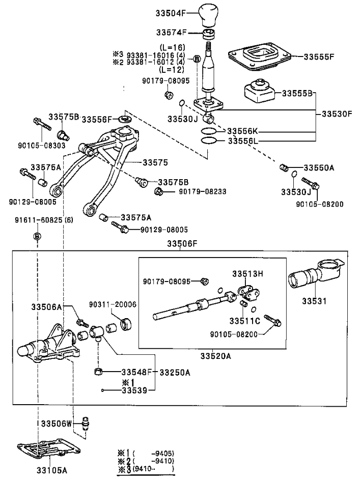
Soooo, ich wollte mal schauen, wo genau das Spiel ist.
Allerdings kam ich nicht allzu weit.
Weiß jemand wie dat Dingen abgeht? Oder muss ich da von Unten lösen?
Stahlhebel.jpg
Cheers, Robert
94`J-spec, NA, MT
Benutzeravatar
Grinchi
JZA80 Boardveteran
JZA80 Boardveteran
Beiträge: 951
Registriert: 12.10.2016, 13:52
Hat sich bedankt: 3 Mal
Danksagung erhalten: 10 Mal

Re: Schalthebel Spiel

Beitrag von Grinchi »

Unter dem Gummi sind 4 Schrauben, diese entfernen..
Unten ist nochmal eine weiter Schraube die den Stifter mir dem Gestänge Schaltwelle verbindet.. Die muss auch raus..
Benutzeravatar
Ijsbrand
JZA80 Boardveteran
JZA80 Boardveteran
Beiträge: 1021
Registriert: 24.11.2016, 06:39
Hat sich bedankt: 0
Danksagung erhalten: 0
Kontaktdaten:

Schalthebel Spiel

Beitrag von Ijsbrand »

Grinchi hat geschrieben:Unter dem Gummi sind 4 Schrauben, diese entfernen..
Unten ist nochmal eine weiter Schraube die den Stifter mir dem Gestänge Schaltwelle verbindet.. Die muss auch raus..
Also doch...War ja klar :D
Danke dir :)
94`J-spec, NA, MT
Benutzeravatar
Ijsbrand
JZA80 Boardveteran
JZA80 Boardveteran
Beiträge: 1021
Registriert: 24.11.2016, 06:39
Hat sich bedankt: 0
Danksagung erhalten: 0
Kontaktdaten:

Schalthebel Spiel

Beitrag von Ijsbrand »

Grad zurück von Tauchstation.
Gute Nachricht: Die Verbindungen am Schalthebel sind alle fest.
Schlechte Nachricht: Die ganze Schaltstange klappert :shock: :
19072017144.mp4
(1.75 MiB) 1284-mal heruntergeladen
Ich nehm mal an, da müsste das ganze Getriebe raus und revidiert werden bzw. neu kommen?
94`J-spec, NA, MT
Benutzeravatar
Japanfanatic
JZA80 allwissendes Orakel
JZA80 allwissendes Orakel
Beiträge: 2687
Registriert: 12.10.2016, 18:49
Hat sich bedankt: 17 Mal
Danksagung erhalten: 52 Mal
Kontaktdaten:

Re: Schalthebel Spiel

Beitrag von Japanfanatic »

Besorg dir am besten ein gebrauchtes W58 ;-)
Bj. 12/2000 Supra RZ - Japanische Ausführung
1B9 - Quicksilver FX - Silver Metallic Graphite

Public Relations e.V.
Benutzeravatar
Ijsbrand
JZA80 Boardveteran
JZA80 Boardveteran
Beiträge: 1021
Registriert: 24.11.2016, 06:39
Hat sich bedankt: 0
Danksagung erhalten: 0
Kontaktdaten:

Schalthebel Spiel

Beitrag von Ijsbrand »

Japanfanatic hat geschrieben:Besorg dir am besten ein gebrauchtes W58 ;-)
Joa, aber woher nehmen, wenn nicht stehlen? ;)
Hab grad gekuckt, das Angebot ist sehr überschaubar.
Ich überleg auch gleich ein V160 rein zu bauen, aber da sieht`s noch schlimmer aus :D
94`J-spec, NA, MT
Benutzeravatar
Grinchi
JZA80 Boardveteran
JZA80 Boardveteran
Beiträge: 951
Registriert: 12.10.2016, 13:52
Hat sich bedankt: 3 Mal
Danksagung erhalten: 10 Mal

Re: Schalthebel Spiel

Beitrag von Grinchi »

Man kann noch genauer schauen wo das Spiel herkommt..
20170719_190541.png
Denke aber, das ist Leichter, wenn man das Getriebe ab hat..
Wenn man die Aufnahme von der Schaltwelle abnimmt kann man prüfen ob die Buchsen in der Führung Spiel haben..
Antworten